Ціль:

Модальний аналіз пластини.

Формулювання задачі:

Визначити власні форми і частоти коливань шарнірно обпертої пластини.

Опис розрахункової схеми:

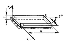
Прямокутна шарнірно обперта пластина з щільністю матеріалу ρ.

Початкова геометрія аналітичної схеми

Початкова геометрія СЕ моделі

а

б


Початкова геометрія: а - аналітичної схеми; б - СЕ моделі

Аналітичне рішення:

M.V. Barton, “Vibration of rectangular and skew cantilever plates”, Journal of Applied Mechanics, vol. 18, 1951, P. 129-134.

Геометрія:

Довжина: a = 1,5 м;
Ширина: b = 1 м;
Товщина: t = 0,01 м.

Характеристика матеріалу:

Модуль пружності Е = 2,1 * 108 тс/м2;
Коефіцієнт Пуассона v = 0,3;
Щільність матеріалу ρ = 7800 кг/м3.

Граничні умови:

В’язі по контуру пластини за напрямком ступеня вільності на переміщення уздовж осі w (Z).

Навантаження:

Вага маси у стержні для модального аналізу (t*ρ*g).

Результати розрахунку:

1-а форма власних коливань

2-а форма власних коливань

3-я форма власних коливань

1-а форма

2-а форма

3-я форма

4-а форма власних коливань

5-а форма власних коливань

6-а форма власних коливань

4-а форма

5-а форма

6-а форма


Форма власних коливань

Порівняння результатів розрахунку:

Параметри Форма коливання Аналітичне рішення LIRA-FEM Похибка, %
Частота, Гц 1 35,63 35,587 0,1207
2 68,51 68,356 0,2248
3 109,62 109,434 0,1697
4 123,32 122,986 0,2708
5 142,51 141,733 0,5452
6 197,32 195,676 0,8332

Завантажити приклад


Помилка в тексті? Виділіть її та натисніть Ctrl + Enter, щоб повідомити нам.



Коментарі

Написати