Ціль:

Визначення напружено-деформованого стану консольної вузької пластини від впливу пари сил, що викликають її кручення.

Література:

J. Robinson, Element evaluation. A set of assessment parts and tests, Proceeding of Finite Element Methods in the commercial environment, vol. 1, October 1978.
J.L. Batoz et M.B. Tahar, Evaluation of new quadrilateral thin plate boundary element, International Journal for numerical methods in engineering, vol. 18, Jon Wiley & Sons, 1982.

Формулювання задачі:

Визначити вертикальне зміщення Z кута вільного краю пластини (точка С).

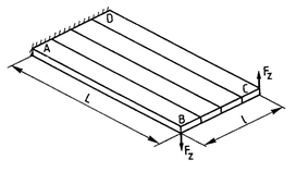
Опис розрахункової схеми:

Консольна вузька пластина, завантажена в кутах вільного краю вертикальними зрівноваженими зосередженими силами.

Початкова геометрія аналітичної схеми

Початкова геометрія СЕ моделі

а

б


Початкова геометрія: а - аналітичної схеми; б - СЕ моделі

Геометрія:

Товщина пластини h = 0,05 м;
Виліт консолі L = 12 м;
Відносна товщина h/L = 0,0042;
Ширина пластини l = 1 м.

Характеристика матеріалу:

Модуль пружності Е = 1,0 * 107 Па;
Коефіцієнт Пуассона ν = 0,25

Граничні умови:

В'язі по відрізку AD пластини жорстко защемлені за всіма ступенями вільності СЕ плити (X, Y, Z, uX, uY, uZ).

Навантаження:

Вертикальна зосереджена сила Fz = 1 Н.

Результати розрахунку:

Розрахункова та деформована схема

Розрахункова та деформована схема

Мозаїка вертикальних переміщень Z (w), м

Мозаїка вертикальних переміщень Z (w), м

Порівняння результатів розрахунку:

Точка Шукана величина Аналітичне рішення LIRA-FEM Похибка, %
С w, м 0,03537 0,03533 0,1131

Завантажити приклад


Помилка в тексті? Виділіть її та натисніть Ctrl + Enter, щоб повідомити нам.



Коментарі

Написати